2025-2026学年秋季学期开展课程教学质量检查的通知
教务处【2025】32号
各学院(系、单位):
为保障本科教育教学质量,推进“让每个学生更优秀”的教育理念,提升学生学习满意度,促进课程持续改进,请各学院结合教学思想大讨论,继续开展课程教学质量检查工作,详细部署如下。
1.工作内容
(1)请各学院就课程教学质量检查召开师生座谈会,广泛听取师生关于课程教学的意见和建议,课程覆盖率不低于本学院开课数量的30%,学生参与率不少于全院学生数的5%(人数10人以上),师生座谈会的形式自定。
(2)请各学院组织授课教师开展课程教学质量检查,听取学生关于课程设置、教学情况、实验教学条件及教学质量等的反馈,并给出持续改进举措。
两部分工作由学院制定工作方案、统筹开展,建议邀请校院两级督导参与。对于工作中发现的问题或师生提出的合理性建议,应给予重视并制定持续改进举措。
2.工作要求
为不断提升工作质效,优化工作机制和流程,从2025年春季学期起相关工作要求做如下调整:
(1)课程教学质量检查工作总结
相关内容合并到《年度院系本科教育教学自评估报告》中进行集中呈现,重点突出发现问题,整改举措及相关工作成效。由学校督导进行统一评议和意见反馈。故各院(系)无需单独提交工作总结。
(2)课程教学质量检查基本信息反馈
请各院(系)组织完成课程教学质量检查工作后,反馈基本信息至共享表格【金山文档| WPS云文档】 2025-2026学年秋季学期课程教学质量检查基本信息反馈表
https://365.kdocs.cn/l/coHgdkcWGTKN。
(3)校级层面意见和建议提交
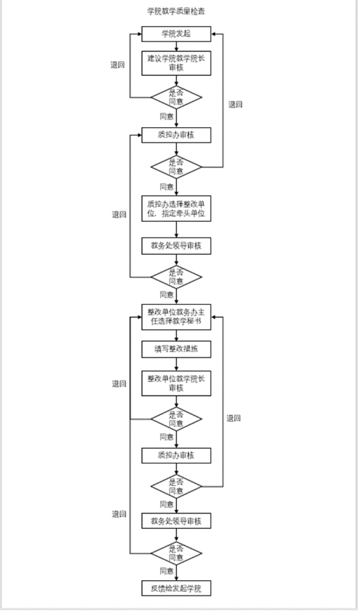
学校已全面推行“本科教育教学质量持续改进流程(课程检查)”线上提交、审批及反馈流程。针对师生座谈中反馈的校级层面合理化建议与意见,请各学院(系)进行综合统筹、整理和讨论后,通过“交我办”线上提交。
提交路径:“交我办”app-教务处---本科教育教学质量持续改进流程(课程检查)。
注意事项:
①涉及到校级层面需要协调整改的建议,如果业务归属单位为职能部处问题,请按照业务归属(教务处业务请以办公室为单位),逐条提交;如涉及到课程内容等开课学院问题建议,请根据开课单位归属,逐条提交;
②仅涉及到本学院内部的问题整改建议,无需系统提交,请学院后续自行整改之后,年度自评估报告中反馈即可;
3.完成时间
2025年12月12日前(第13周周五)。
请各院(系、单位)认真部署此项工作。
工作联系人:张亭亭,电话:34206426-8003。
教务处
2025年10月10日
附:“本科教育教学质量持续改进流程(课程检查)”流程图
